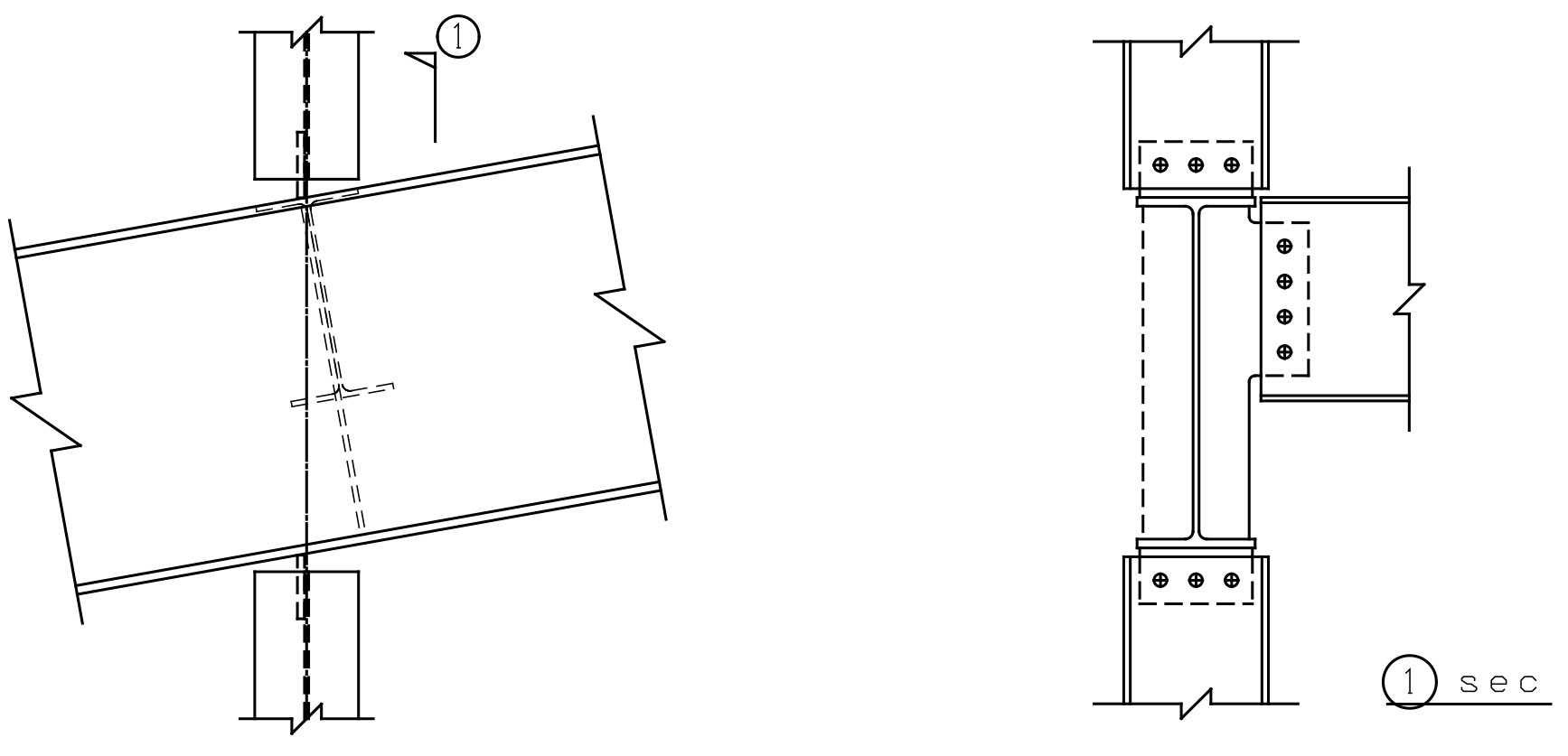
勾配がある大梁に取り付くスチフナですが,小梁と間柱が同じ位置に取り付く場合にどちらと合わせた方がよいでしょうか。
下図は上下に間柱がありますが,下だけのときはどうでしょうか。

間柱のガセットPLに対するスチフナは,通常設けることになりますので,上図の場合は三角リブPLを取り付けることになります。ただ,梁せいと勾配の関係で小梁のガセットPLとの間隔が狭い場合には「3-76 ガセットPL とスチフナPL が近い場合の対処法」を参考にして,必要に応じて位置を変えるか溶接方法を変えるなどの対応で処理してください。
間柱が上にない場合は,小梁の位置を下フランジで間柱の位置合わせることは可能ですが,構造設計者の確認が必要になります。それは,小梁の間隔が大きくなるスパンが生じますので,小梁やスラブのチェックが必要となるからです。
例えば,大梁せいが800mm,勾配が1/10とすると,スパンが80mm大きくなる箇所が生じます。間柱のスパンは3m程度なので,スパン長は3%弱長くなります。スラブの曲げモーメントは5%強,変形は11%程度大きくなります。また,小梁は支配幅が大きくなる分,曲げモーメントと変形は1.5%程度大きくなります。部材の断面検定には,通常余裕がありますので,十分対応可能であると思われます。提案してみることはよいことです。
以上は,小梁を勾配なり,大梁に直角に取り付けていますが,鉛直に取り付ける方法も考えられます。この方法の場合には小梁を低い位置に設置して,一方にデッキ受けを設けることになります。
Supporting Association for Building Steel Structural Technology All Rights Reserved.